Apple Esnek iPhone için Patent Başvurusu Yaptı!
Kategori : Akıllı Telefonlar
Kavisli LG G Flex 2 akıllı telefon modeli CES 2015 fuarında tanıtılmıştı. Şimdi de Apple'ın esnek elektronik cihazlar adı altında bir patent başvurusu yaptığı ortaya çıktı. Başvuru dosyasında yer alan çizimlerin esnek iPhone modeline ait olduğu tahmin ediliyor.
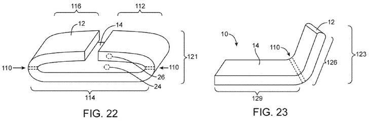
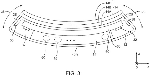
Yaşanan gelişmeler doğrultusunda ABD Patent ve Ticari Markalar Dairesi'nin resmi sitesinde ortaya çıkan konsept çizimler, Apple'ın esnek iPhone modeli için yaptığı patent başvuru dosyasında yer alıyor. Görsellere baktığımızda ise telefonun rakip ürünlere göre daha fazla bükülebilir olacağını anlayabiliyoruz.

Telefonun bileşenlerine kadar bükülebilir olacağı anlaşılan çizimlerde ekran, çerçeve, devreler ve batarya'nın da bükülebilir olduğu görülürken, Apple'ın fiziksel anlamda zarar görmesi güç bir telefon geliştirdiğini söyleyebiliriz.
Esnek iPhone, çizimlere göre bileğe takılabilecek kadar bükülebiliyor. Bu özellik için Apple'ın telefonda malzeme olarak plastik, ince cam ve fiber kompozit bileşenleri kullanacağı belirtiliyor.
İşte Apple tarafından üretileceği iddia edilen esnek ve bükülebilir iPhone modelinin konsept çizimleri;




Görsel Kaynak: USPTO
