Zaman içerisinde büyük oyun firmalarının kullanıcıya daha özgün deneyimler sunmak amacıyla farklı teknolojiler geliştiriyor. Bazıları belirli prosedürlerde kalıp kullanıcı deneyimine sunulamasa dahi diğer teknolojiler ile birleştirilip oyuncuyu etkilediği yeni noktalar oluyor. Örneğin Sony, Dualsense kullanıcısına sunduğu yeni kontrol düzenlemeleri veya EA games önceki aylarda da oyunlardaki arka planda çalınan tema müziklerini oyuncuların duygu durumlarını yansıtacak şekilde değiştirmelerine olanak tanıyan yazılım için bir patent başvurusunda bulunması. Tam da bu noktada dijital etkileşimli eğlencede dünya liderlerinden olan EA games firmasının üzerinde çalıştığı yeni teknoloji sayesinde kullanıcılarına daha çok kendileri tarafından özelleştirilmiş karakterler sunabilir.
Son dönemde tekrar hikaye odaklı yapımlara odaklanan Electronic Arts Games yalnızca bu sene Dead Space Remake, Star Wars Jedi: Survivor ve Immortals of Aveum, Wild hearts gibi tek kişilik oyunlar sundu. Firmanın amacı ise online veya hikaye odaklı oyunlarda, oyuncuya oyun içerisinde daha kişiselleştirilmiş deneyimler sunarak hizmet kalitesini arttırmak. EA games firması oyunlarda geliştirdiği bu teknoloji ile oyunlara yeni bir soluk getirecek. Firma, oyunlarda oyuncuların seçtiği karakterlerinde kendi seslerini kullanabilecekleri şekilde geliştirdikleri bir teknolojinin patentini aldı.

Kendi Sesin ile Oyun Oynama Deneyimi Nasıl Çalışır?
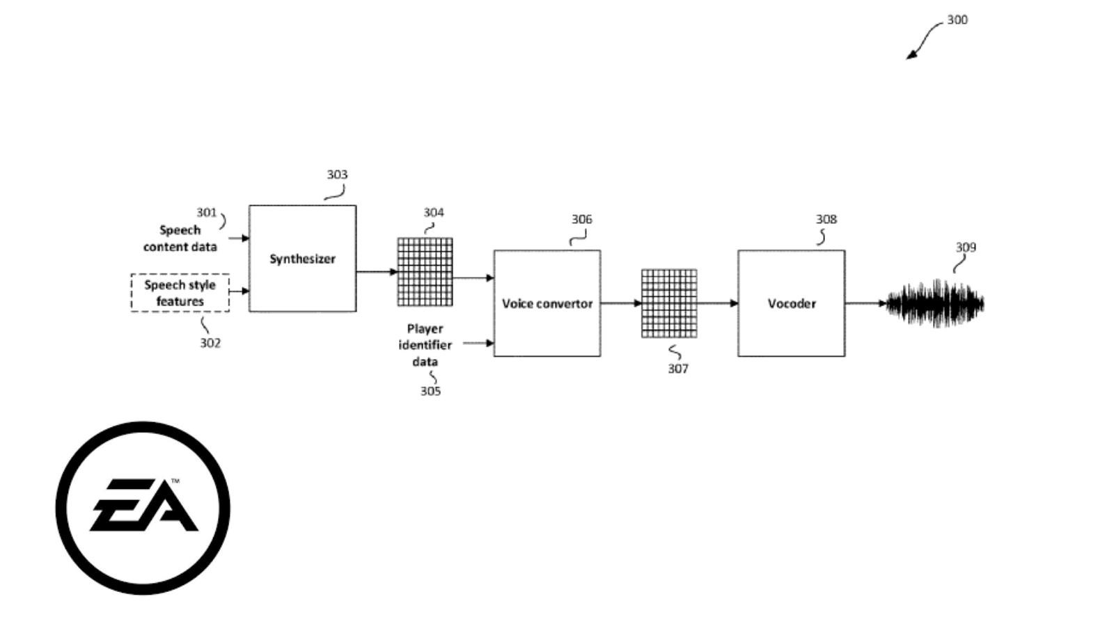
Veryali Gaming tarafından yapılan araştırmaya göre, basit olarak EA Game’in aldığı bu patentin oyuncuya sağladıkları ise şu şekilde:Oyuncuların seslerini özel bir akustik kodlayıcı ile kopyalayarak oyun içindeki karakterlerde kullanmalarına olanak sağlayacak.
Karakterde, oyuncunun sesinde konuşma sesi üreterek karakterin oyuncunun sesi ile birebir, benzersiz, kişisel sesiyle konuşması ve hatta ton, duygular ve vurgu gibi davranışsal olan konuşma öğelerini bile yakalayarak kullanmalarını sağlayan özel kodlar mevcut.Bu kaynak kodlar ise akustik özellikler üreten bir sentezleyici modülüne sahiptir ve sesin girilmesini içeren bir sistemi ana hatlarıyla belirtmektedir.
Sesi analiz eden ve kodlamalar sayesinde oyun karakterinde dönüşümünü sağlayan teknoloji, vereceğiniz kısa örnekler ile karakterlerde sizin sesinizi kullanacak. Oyun öncesi başlamadan önce sistem sizden bazı kelimeleri söylemenizi isteyecektir. Bu şekilde sesinizi bu örnekler ışığında tüm diyalogların sizin sesinize dönüştürülmesi sağlanacak.
Oyuncular Bu Teknolojiyi Nasıl Karşılıyor?
Günümüzde yapay zeka ile seslendirme teknolojileri incelendiğinde EA Games’in benzer bir yapıyı bu sistemde hayata rahatlıkla geçirmesi mümkün. Bilindiği üzere artık yaptığınız ufak bir seslendirme ile sadece sesimizi değil, dudak senkronunuzu dahi yapay zeka aracılığı ile yabancı dillere aktarılması olası hale gelmiş durumda.
EA games firmasının patent alımı sonrasında ortaya farklı görüşlerde çıktı. Oyuncuların bir kısmı kendi seslerinden ziyade ünlü şahısların karakter tarafından seslendirmesini tercih edeceklerini belirtirlerken, bu sistemin çok farklı ilgiyle karşılanacağını düşünenler de mevcut.EA games önceki aylarda da oyunlardaki arka planda çalınan tema müziklerini oyuncuların duygu durumlarını yansıtacak şekilde değiştirmelerine olanak tanıyan yazılım için bir patent başvurusunda bulunmuştu.