Teknoloji devi Apple katlanabilir ekran pazarına girebilir!
Kategori : Akıllı Telefonlar
2019 yılında başlayan katlanabilir ekranlı akıllı telefon üretimi hız kesmeden devam ediyor. Birçok markanın en iyisini üretebilmek için girdiği yarışa Apple çözüm getirecek gibi duruyor.
Katlanabilir ekranlı iPhone üzerinde çalışmaya başlayan Apple, bu çalışmalarını bir adım daha ciddileştirerek bir patent aldı. Ancak şirket katlanabilir ekran pazarına 2020 senesinde girmeyi düşünmüyor. Bu alanda çalışmalarına hala devam eden teknoloji devinin aldığı patent ise oldukça ilgi çekici. Bildiğiniz üzere şuanda üretilen telefonlar ekranlarının aşırı hassas olması nedeniyle kullanıcılarına zor zamanlar yaşatıyor. Geçtiğimiz sene piyasaya sürülen Galaxy Fold’un bu nedenle satışları durdurulmak zorunda kalmış ve Samsung cihazdaki hataları minimuma indirene kadar yeniden satışa çıkmamıştı. Cihazdaki hatalar nedeniyle Huawei Mate X’inde piyasaya çıkış tarihi epey ertelenmişti.
Tablet pazarı 2019 yılını düşüşle kapatırken Apple yükselişe geçti!Bu sorun geçtiğimiz günlerde ön satışa sunulan Motorola Razr 2019’unda başına gelmiş durumda. Hatta Motorola kullanıcılarını ekran hassasiyeti konusunda uyarmış ve cihazın nasıl kullanılması gerektiğini açıklamıştı. Katlanabilir ekran teknolojisi her ne kadar dikkat çekici olsa da, bu alanda üreticilerin daha çok çalışması gerektiği aşikar. Bu sektöre girmek için kolları sıvayan Apple ise ilk kez ekranı tamamen hatasız bir cihaz piyasaya sürebilir.
Apple katlanabilir ekran patenti aldı!
Oppo'da Katlanabilir Telefon Pazarına Giriyor
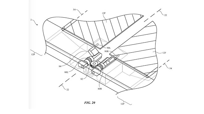
Katlanabilir ekranlı telefonların en büyük sorunu ekranın hızlı zarar görmesi. En iyi ihtimalde ekranda buruşmaların olduğu cihazların ekranı hızlı bir şekilde kırılabiliyor. Geçtiğimiz gün yeni bir patent aldığı öğrenilen Apple ise ekran üzerindeki çıkıntıları ortadan kaldırabilmek için karmaşık bir mekanizma üzerine çalışıyor. 2021 veya 2022 senesinde bu pazara girmesi beklenen Apple’ın patenti görsel olarak Samsung Galaxy Fold’un formunu andırıyor. Alınan patentte cihazın katlanma yerleri görülüyor fakat cihaz açık bir halde duruyor.
Görseli dikkatli incelediğimizde şirketin patent görselinde ekranın kare bir yapıda olduğunu görüyoruz. Buda Apple katlanabilir ekran pazarına iPhone’lar yerine iPad’lerle de başlayabilir demek. Ekran kırılma sorunun önüne geçmek için yeni bir mekanizma üzerinde çalışan şirketin bu alandaki çalışmaları bilinse de Apple’dan henüz resmi bir açıklama gelmiş değil. Apple’a ilgili gelişmelerden haberdar oldukça sizleri bilgilendirmeye devam edeceğiz.
Telegram CEO'su WhatsApp'ın uçtan uca şifreleme yönetiminin yeterince güvenli olmadığını açıkladı!
Apple ücretsiz geliştirici hesapları geliyor
