Samsung'un yeni saat modelleri solar enerjiyi kullanabilir
Kategori : Teknoloji
Samsung'un akıllı saatleri için planladığı yeni bir proje sızdırıldı. Yapılan açıklamalara göre Samsung güneş enerjisi ile çalışacak yeni bir akıllı saat projesi üzerinde çalışıyor.
Akıllı saatlerinde yeni teknolojilere ve özelliklere yer vererek sektörün dikkat çeken markalarından bir tanesi olmayı başaran Samsung, şimdi akıllı saatlerde yepyeni bir deneyim sunmayı hedefliyor. LetsGoDigital tarafından aktarılan bilgilere göre Samsung akıllı saatlerinde özel bir kayış sistemini kullanacak. Bu kayışın öne çıkan özelliği ise güneş enerjisini elektrik enerjisine çevirerek ihtiyaç duyulan şarjı sunacak olması. Bu bakımdan şirketin aldığı patent, sektörde şimdiden dikkat çekmeyi başarmış durumda. Akıllı saatler başta olmak üzere özel bilekliklerde dahi kullanılabilecek olan teknoloji, uzun ömürlü olan batarya sürelerini tamamen şarj ihtiyacı olmadan kullanılmasına imkan tanıyabilir. Solar şarjlı akıllı saat patenti olarak adlandırılan yeni teknoloji, şirketin önümüzdeki yıllarda yepyeni bir teknolojiyi kullanıma sunacağını gösteriyor.
Solar patent neler içeriyor?
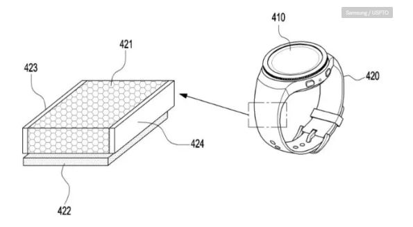
Samsung tarafından 2019 yılında dosyalandığı görülen yeni patent, kayış bölgesinde bulunan küçük bir solar bölümü işaret ediyor. Ancak Samsung'un üzerinde çalıştığı teknoloji yeni ve ilk değil. Garmin, şu anda piyasada kullanımda olan bazı modellerinde güneş enerjisi desteğini sunuyor. Ancak bu teknolojilerde şarjın tamamen güneş enerjisi ile elde edilmesi mümkün olmazken sadece kullanım süreleri uzatılıyor. Samsung'un ise yeni patenti ile birlikte mevcut teknolojideki pek çok soruna çözüm getirmesi ve cihazların şarj ihtiyacının daha da azaltması bekleniyor.
Samsung tarafından yapılan başvuru ile alınan patent şöyle;

Sektörel olarak yapılan değerlendirmeler ise özellikle güneş enerjisinin mevcut teknolojiler dahilinde tam anlamıyla istenen verimliliği sunamayacağı yönünde. Sürekli güneşli alanda durulmayacağını öne süren uzmanlar, bu konuda şirketlerin yeni teknolojiler ile kullanım sürelerini uzatmaktan başka bir çözüm sunamayacağını düşünüyor.
