Oppo kenardan kamera için çalışmalarını sürdürüyor
Kategori : Teknoloji
Oppo, akıllı telefonun yanına kamera yerleştirmenin olanaklarını ve faydalarını araştırıyor gibi görünüyor. Ortaya çıkan son tasarımlar, ayrı bir özel sensör entegre etmek yerine bir ayna sistemi üzerinde çalıştığını gösteriyor.
Şirket bu yılın başlarında tasarımın patentini almıştı. Ancak söz konusu patent bu hafta başlarında onaylandı. Ortaya çıkan patent görselleri OPPO’nun telefonların yanına özel bir sensör entegre edeceğini gösteriyor. Telefonun yan tarafındaki bir kamera ilk bakışta özellikle kullanışlı gelmese de OPPPO bu sistemin hareketli nesneleri yakalamak için yararlı olabileceğine inanıyor.
ColorOS 12’nin çıkış tarihi, OPPO tarafından açıklandı
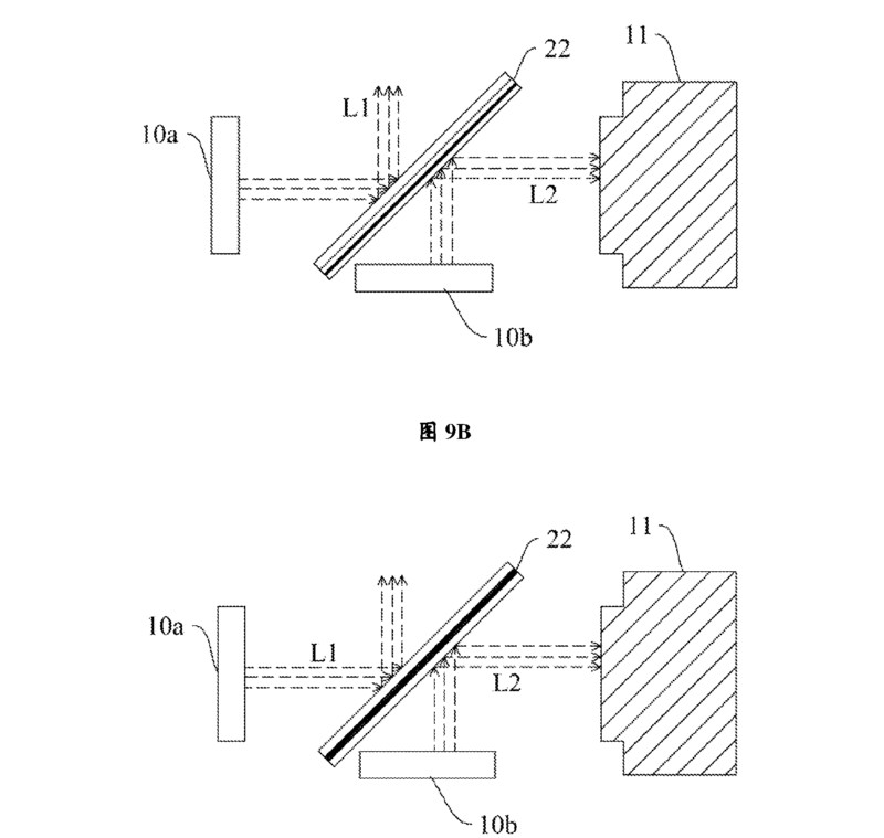
LetsGoDigital tarafından paylaşışan görsellerde şu açıklamaya yer verildi; "Özellikle hareketli nesnelerde, onları bir akıllı telefon kamerasıyla keskin bir şekilde yakalamak zor olabilir. Örneğin, hızla geçen bir bisikletçiyi düşünün. Ardından, eylemi görselleştirmek için telefonu hareket ettirmeniz gerekir. Çerçevenin yan tarafında, üst arka kameranın yüksekliğinde bir delik açarak, cihazı hareket ettirmeye gerek kalmadan çekim yönü kolayca değiştirilebilir.”
Patent görselleri şirketin akıllı telefonun hem arkasında hem de yanında özel bir kamera sensörü kullanmak yerine, bir sensörün bu iki perspektifin görevlerini yerine getirmesine izin veren bir ayna sistemi kullandığını gösteriyor. Buradaki fikir, kamera bir öznenin sağa doğru hareket ettiğini ve çerçevenin dışına çıktığını algılar algılamaz aynanın dönmesi ve olayı sorunsuz bir şekilde yakalamaya devam etmesi için yan kameranın etkinleştirilmesine dayalı. Bu teknoloji ilk bakıldığında gereksiz gibi gelse de aslında cihaz maliyetlerini azaltmakta oldukça etkili olabilir. Çünkü OPPO bu teknolojiyi hayata geçirdiğinde iki sensör yerine bir ayna kullanarak sensör maliyetini azaltmış olacak. Tabi bu durumun telefon fiyatlarına ne ölçütte etki edeceği konusunda şimdiden bir yorum yapmak oldukça zor.
OPPO kamera konusunda çok daha iyi hale gelebilir
OPPO henüz aynaları işlevsel kullanan bir ürün piyasaya sürmemiş olsa da, bu tasarım aynaları kullanan yaratıcı bir kamera teknolojisini tanımlayan ilk patent değil. Bu yılın başlarında, OPPO ayrıca bir kamerayı ileriye doğru kullanıcıya doğru veya geriye doğru kullanıcıdan uzağa yönlendirmek için de ayrı, özel sensörler yerine aynalar kullanan çift taraflı bir açılır kameranın patentini almıştı. Tabi şirketin söz konusu patentleri hiç hayata geçirmemesi gibi bir seçenek de bulunuyor. OPPO’nun bu patentlerle bizlere gelecekte nasıl bir teknoloji sunacağını bekleyip hep beraber göreceğiz.
Yeni OPPO Find Modeli Sızdırıldı
OPPO, ColorOS 12 beta çalışmalarına başladı
