Lenovo katlanabilir ekranlı laptop patenti aldı
Kategori : Donanım
Teknoloji dünyasında her geçen yeni bir özellik duyuruluyor ve bu özellik teknolojik aletler arasında moda haline geliyor. Son zamanlarda popüler olan özelliklerden birisi, katlanabilir ekran. Bu özellik henüz uygulanmıyor olmasıyla birlikte, ilk olarak akıllı telefonlar için ortaya çıktı. Özellikle Samsung, katlanabilir ekranla sıkça gündeme geldi. Şimdi ise bu özellik diz üstü bilgisayarlarda da kullanılmaya başlanabilir. Çünkü, Lenovo bu anlamda önemli bir adım attı. Edinilen bilgilere göre Lenovo, katlanabilir ekranlı diz üstü bilgisayar patenti aldı. Katlanabilir ekran dizüstü bilgisayar, CES 2017 fuarında Razer tarafından tanıtılmıştı ve oldukça da ilgi görmüştü. Lenovo'nun attığı adımla, bu teknoloji ile yalnızca Razer'ın ilgilenmediği görüldü.
Lenovo'dan katlanabilir diz üstü bilgisayar

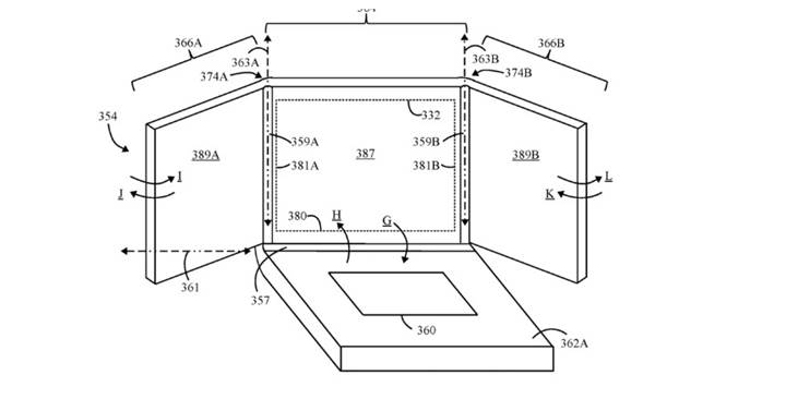
CES 2017 fuarında Razer'ın tanıttığı Project Valerie, 3 ekranlı katlanabilir diz üstü bilgisayar konsepti, oldukça ilgi toplamıştı. Öyle ki prototip cihaz bir hırsızlık olayına maruz kaldı. Fakat bu anlamda, Lenovo'nun da çalışmaları olduğu görüldü ve 2016 yılında şirketin yaptığı bir patent başvurusunda, katlanabilir ekran diz üstü bilgisayar üzerinde çalışmalar yaptığı dikkat çekti. Elde edilen bilgilere göre, ekranlar OLED panelden üretilmiş ve ekranlar esnek ve ana ekran üzerine doğru kapanıyor.
Patent başvurusundan ortaya çıkan görsel incelendiğinde, ekranların 90 derecelik açıyla katlandığı ve tek bir ekran haline geldiği, açıldığında ise geniş bir ekran olarak kullanılabildiği görülüyor. Lenovo bu tasarımın, sunumlarda ve oyun oynama açısından kullanışlı olacağını düşünüyor. Samsung'la başlayan ve ardından LG ve Oppo ile ismi akıllı telefon camiasında anılan katlanabilir ekranlar, Lenovo aracılığıyla diz üstü bilgisayarlara da taşınmış durumda. Tasarımın hayata geçmesi haline ne kadar ilgi göreceği merak ediliyor.
