Katlanabilir Samsung telefonunun özellikleri paylaşıldı
Kategori : Akıllı Telefonlar
Bir süredir Samsung cephesinde gündemi meşgul eden modellerden birisi, Galaxy X adıyla bilinen katlanabilir akıllı telefon. Katlanabilir ürünler, geçtiğimiz yıl itibariyle kendisini göstermeye başlamıştı ve katlanabilir TV tanıtılmıştı. Fkat bu teknolojinin akıllı telefonlar için çıkmasına biraz daha vakit olduğu düşünülüyordu. Samsung, katlanabilir telefon teknolojisini beklenenden daha erken getirmeyi planlıyor. Henüz hakkında pek fazla açıklama yapılmayan bu cihazın isminin Galaxy X olacağı biliniyor. Cihaz, diğer telefon modellerinden farklı bir görünüme ve farklı bir fonksiyona sahip olacağı için, yeni çıkacak telefonlar arasında en çok merak edilenlerden. Merakla detayları beklenen Galaxy X'in nasıl görüneceği ve bazı özellikleri hakkındaki detaylar belli oldu.
Samsung'un katlanabilir telefonunun kod adı 'winner' olacak

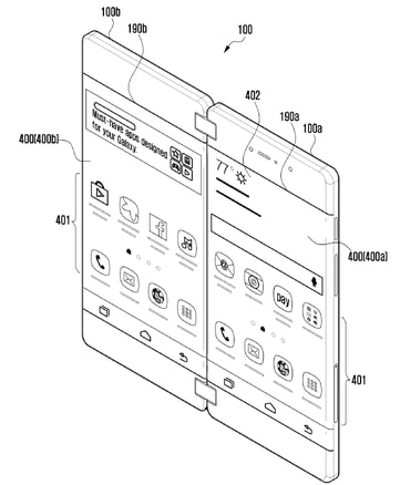
Samsung'un merakla beklenen katlanabilir telefonuna ilişkin, yakın bir kaynak tarafından bazı bilgiler verildi. Wall Street Journal'a açıklamalarda bulunan bu yakın kaynağın neresi olduğu henüz bilinmiyor. Verilen bilgilere bakılırsa, cihaz katlandığında kameraları iç kısımda kalacak ve cihazın kod adı 'winner' yani kazanan olacak. Daha önce çıkan bir sızıntı bilgide de olduğu gibi, cihazın ekran boyutu 7 inç olacak. Katlandığında ise bu boyut 4,5-5 inçlik bir cihaza benzeyecek.
Kaynağın verdiği bir diğer bilgiye bakılırsa, Samsung katlanabilir cihazı Galaxy X'i, 2019 yılının başlarında kullanıcılarına tanıtacak. Daha sonra da cihaz satışa çıkacak. Cihazın görselde görünen tasarımı ZTE'nin Axon M'e de benziyor. Eğer görünüm görseldeki gibi olursa, cihazın tasarımı beklenenin altında kalabilir.
